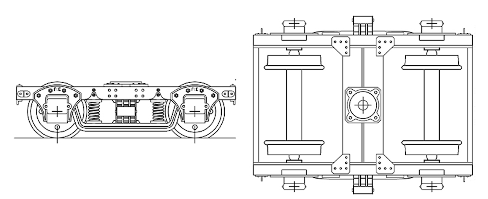
Kit BOGGIES COMMONWEALTH LAITON
Kit BOGGIES COMMONWEALTH LAITON
Échelle : 0e
Pays : AR
Dimensions : 43 x 35 x 11 mm
Nombre de pièces : 4
Article GB : BRASS COMMONWEALTH BOGGIES KIT
Frais de port offerts – À partir de 69€ d’achat
Paiement sécurisé par carte bancaire
50.00 €

















